发布询价单
您的位置:首页 > 资讯 > 综合资讯 > 正文

大疆一款无人机基站及充电系统专利曝光

2021-08-06 09:13 性质:原创 作者:小鹏 来源:开云足球
免责声明:开云足球(www.thecupcakecakery.com)尊重合法版权,反对侵权盗版。(凡是我网所转载之文章,文中所有文字内容和图片视频之知识产权均系原作者和机构所有。文章内容观点,与本网无关。如有需要删除,敬请来电商榷!)
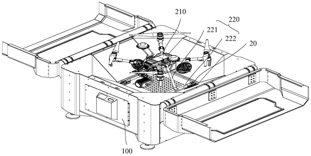
我国国家知识产权局在7月30日公开了大疆一款无人机的基站及充电系统专利,然而该专利早在2017年9月30日提交申请。大疆无人机基站及充电系统专利公布基站包括壳体...

我国国家知识产权局在7月30日公开了大疆一款无人机的基站及充电系统专利,然而该专利早在2017年9月30日提交申请。

大疆无人机基站及充电系统专利公布

基站包括壳体、停机坪和防护罩

从专利文件可见,该无人机的基站包括壳体、设于壳体顶部的停机坪和防护罩。防护罩则包括第一防护罩及第二防护罩,第一防护罩转动连接于壳体顶部的第一侧,第二防护罩转动连接于壳体顶部的第二侧。第一侧和第二侧为壳体的相对两侧:第一防护罩及第二防护罩能够相向转动逐渐靠近或背向转动逐渐远离,对应使得防护罩关闭或打开。

专利文件

专利文件附图

防护罩提高了安全

防护罩打开时,第一防护罩及第二防护罩分别位于壳体的对应侧的一侧,停机坪露出。防护罩关闭时,第一防护罩、第二防护罩及壳体的顶部包围形成收纳空间,停机坪收纳在收纳空间内。该专利申请在基站的顶部设置防护罩,提高安全性。

而从专利文件的图片可以看出,该无人机的基站及充电系统很有可能是为大疆经纬系列的商用级无人机而设,相信目的是使该系列无人机可完成自动充电的工作,增加作业效率。

关注官方微信

手机扫码看新闻