
7 月 15 日至 18 日,2019 年 “达北杯” 第三届全国大学生无人机测绘技能竞赛在山东日照成功举办。大赛由全国测绘地理信息职业教育教学指导委员会、自然资源部职业技能鉴定指导中心主办,山东水利职业学院、山东省水利与测绘专业建设指导委员会承办,北京达北时代冠名,DJI 大疆行业应用、慧飞无人机应用技术培训中心等企业合作举办。DJI 大疆行业应用测绘行业负责人魏坤岭及慧飞教育总经理孙嘉栋作为竞赛组委会专家出席本次大赛,为大赛提供技术指导。
内外业结合,催化产业健康生态
本次大赛旨在培养大学生无人机操作及数据处理等方面的实践能力,以及大学生解决无人机摄影测量生产实践问题的综合技能。因此,大赛采用内外业结合的方式进行,包括“无人机低空影像数据采集(外业)”和“低空摄影测量影像处理(内业)”两个部分。来自全国 23 个省、自治区、直辖市,78 所院校的 300 多名参赛者使用DJI 大疆精灵 Phantom 系列无人机完成原始影像采集,角逐团队大奖。
山东省水利厅副厅长张建德、自然资源部职业技术鉴定指导中心主任易树柏、中国工程院张祖勋院士的开场致辞拉开了比赛帷幕。

山东省水利厅副厅长张建德表示:“随着信息化时代的发展,传统测量手段已经不能满足测绘工程要求,无人机具有机动灵活 、高效的特点,在环境检测、水利检测等场景有广泛的应用,为国家重大工程建设、国土测量、资源开发等方面,提供了有力的支撑。培养无人机测绘领域人才,对推动测绘地理信息的健康发展,具有重要意义。”

自然资源部职业技术鉴定指导中心主任易树柏进一步指出:“自然资源部的组建,将测绘工作放在了更高的平台上,迎来了高质量发展的历史机遇。2018 年地理信息产业总产值超过 6,200 亿元,地理信息产业从业单位数量超过 95,000 家,从业人员数量超过 1,170,000 人。我国地理信息产业的稳步发展,为测绘地理信息高等教育和职业教育发展,提供了更广阔的的舞台。”

中国工程院院士、武汉大学教授张祖勋为参赛师生带来了题为《基于旋翼无人机贴近摄影测量及其应用前景》的学术报告。张祖勋院士以精灵 Phantom 4 RTK 和大疆智图在悬空寺数字化模型重建中的应用为例,详细讲解了贴近摄影测量。贴近摄影测量是旋翼无人机应用于近景摄影测量形成的一种全新摄影测量方式,以无人机高精度定位技术、无人机云台姿态控制能力以及计算机视觉为基础,能够为古建筑、水利、滑坡、三维建模等数字化重建提供有效的补充手段。此外,张祖勋院士还对大疆精灵 Phantom 系列无人机的稳定性、抗风性和高精度定位技术表达了肯定。

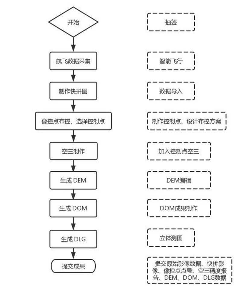
测绘技能竞赛流程

7 月 17 日,所有参赛队伍完成了外业航飞、快拼图制作、布设相控点、内业空三处理、DEM(数字高程模型)、DOM(数字正射影像)、DLG(数字线划图)生产与编辑等比赛内容。

经过激烈的角逐和裁判判定,山东水利职业学院、黄河水利职业技术学院、昆明冶金高等专科学校、北京工业职业技术学院、杨凌职业技术学院、昆明理工大学津桥学院、石家庄铁路职业技术学院、云南国土资源职业学院 8 所院校获得特等奖,江西应用技术职业学院等 16 所院校获得一等奖。

赛后,武汉大学教授、博士生导师陶本藻教授在接受采访时表示:“随着无人机测绘技术发展,像数字化城市这样以前人力无法实现的应用都得以实现,也促进了无人机测绘教育的发展。以往的学校教育中,只重视理论教学,缺乏实践教学,三年前全国大学生无人机测绘技能竞赛第一次举办,才推动了很多院校开设无人机测绘应用专业,不但如此,土木、建筑、交通这些非测绘的专业也开始设置无人机测绘课程。大疆的无人机在这个过程中起了很大作用,让学生能够用得起,用得好,到现在这门课已经普及开了,极大地提高了学生们运用无人机进行测绘的操作能力。”

山东水利职业学院张华荣老师在接受采访时表示:“本次比赛对学生来说本身是一个很好的锻炼,通过比赛对学生个人技能也有很大的提高。”

北京工业职业技术学院赵小平老师表示:“通过比赛学生们提高了操作技能。希望学校能与企业有更多的合作,通过校企合作将最新的科技带入校园带入教学。”

大赛期间,专家学者与参赛者们近距离接触了大疆精灵Phantom 4 RTK、经纬M210 RTK V2 以及大疆智图航测软件
人才需求旺盛,无人机测绘应用未来可期
我国测绘地理信息应用潜力巨大,人才需求旺盛,无人机测绘作为一种低成本、高精度、操作简便的技术手段,在传统测绘、数字城市建设、地理国情监测、灾害应急处理等领域有着重要的作用。无人机测绘技能竞赛,能够推进以无人机测绘技术为代表的测绘新理论、新技术、新方法进院校、进课堂,充分发挥以赛促教、以赛促学的作用,是提升学生运用无人机进行测绘操作能力的重要平台,也将成为我国地理信息产业人才培养的重要渠道,为高校、职校全面提高人才培养质量做出贡献。
致力于用技术与创新力为世界带来全新视角,公司以“未来无所不能”为主旨理念,在无人机系统、手持影像系统与机器人教育领域成为业内领先的品牌,以一流的技术产品重新定义了“中国制造”的创新内涵。
十二年间,通过不断革新技术和产品,公司开启了全球“天地一体”影像新时代;在影视、农业、地产、新闻、消防、救援、能源、遥感测绘、野生动物保护等多个领域,重塑了人们的生产和生活方式。
从创立至今,公司一直坚守“激极尽志,求真品诚”的企业精神。始终践行全新的文化和价值观,将卓尔不群的产品之道贯穿到每一个细节,展现科技的无限可能。
DJI就是个敢于说真话的孩子。这里由一群从不妥协、极富洞见、坚持梦想的人聚合而成。我们坚信实干而非投机,坚信梦想而非功利。我们坚决践行全新的文化价值观和思维方法论,从创始之初至今从未改变。
DJI是一个创新的乌托邦,我们搭建了一个尊重梦想的舞台,构建了纯粹的企业环境,努力探索卓尔不群的产品之道和企业文化。没有一家公司像DJI一样,将求真品诚的理念贯穿到每一个细节,对此我们引以为傲。
十年间,DJI站在了行业之巅,开启全球飞行影像新时代,展现出改造世界的无限可能。我们的经历证明,一个初出茅庐的年轻人不去曲意逢迎、不去投机取巧,只要踏实做事,就一定能取得成功。我们相信,那些回归常识、尊重奋斗的人,终将洞见时代机遇,并最终改变世界。
大道无疆,创新无限。如果你志存高远、怀揣梦想,决心踏实做事、创造价值,却在扭曲的现实中自我怀疑、彷徨无奈,那就加入DJI吧! 在这里,与更多真知灼见者碰撞,与更多志同道合者同行!
未来,无所不能!
2025-09-24 09:54
2025-09-16 09:33
2025-09-08 10:36
2025-09-08 10:35
2025-08-23 20:44
2025-08-21 12:59
2025-08-19 13:05
2025-08-18 14:27
2025-08-11 22:20
2025-08-08 10:02

