无人机网(www.thecupcakecakery.com)援引美媒消息称,在亚马逊、英特尔、GoPro和谷歌的领导下,看起来又一个技术巨人已经准备好了进入无人机行业。
LetsGoDigital的一项专利表明,韩国三星公司正在制定无人机开发计划,该公司的无人机可以具有面部识别技术和阅读手势的能力。
该专利看起来更像是一个飞行屏幕,而不是传统的航拍无人机。而这个设备的创新点和亮点是什么,我们还不得而知。
阅读了这些专利说明后,三星似乎希望将各种与无人机相关的技术包含在飞行设备中,包括避障,GPS等。

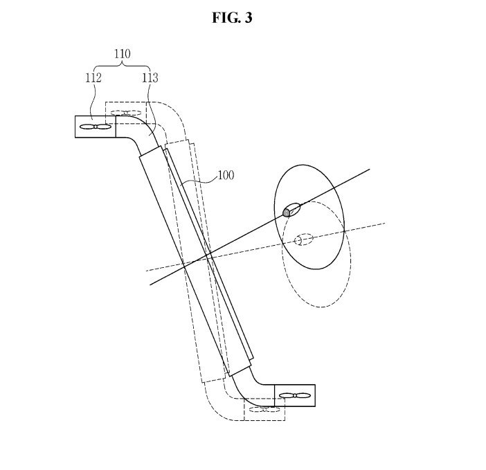
三星无人机有一个中央显示器,并配备四个螺旋桨。据推测,它可以以不固定的角度飞行,在必要时以便成为一个大屏幕。关于它如和运行的线索可以在稍后的专利中找到。

这个侧视图似乎显示了专利所描述的“联合操纵者”。螺旋桨可以重新配置,以改变无人机坐落的角度。
从专利来看,三星的飞行设备与市场上的其他产品看起来非常不同。看起来将成为娱乐的焦点,而不是摄影。出于这个因素,我们可以比较的最接近的产品可能就是英特尔的射击之星无人机了。
飞行屏幕可能非常适合免提扬声和有针对性的广告,这就是目前我们所能了解到的一切。
无论设备的意图如何,毫无疑问,三星的老板们将看到进入无人机行业并不止靠着一颗雄心这么简单。让我们期待他们将如何下到这盘棋当中吧。

