方案提供者角色各异,这里选取兰德智库、沃尔玛、亚马逊、顺丰、苏宁、京东和Flytex等。
不管是死磕技术,还是创新模式,都推动着无人机物流配送走近人们的日常生活。

多个配送中心 无人机+X结合体
兰德智库认为:在未来的五到十年内,物流无人机可能会普及,尤其是对轻小物品的“最后一公里”物流。2015年7月15日,联邦航空管理局批准首次商业无人机递送,标志着这样的系统发展到了一个里程碑。未来,无人机的作用会增强,在某些情况下甚至会取代车队,进而对能源消耗、公共安全、个人隐私、空气污染、城市噪音和空中交通管理、道路拥堵、城市规划、城市地区的消费模式产生重要影响。
当城市有多个配送中心而非一个中心位置的配送中心,所需无人机数量总数会急剧减少。
除了设计更加安静的无人机,有很多颠覆性的商业模式或新奇的载具设计,以意想不到的方式来改变无人机物流。例如,无人机-卡车结合体,卡车可以扮演移动无人机中心的角色。
配送路线模型:a.卡车b.无人机
满载(蓝色)和非满载(橙色)每公里/千克无人机能源消费曲线

空中仓库
空中仓库类似于飞艇,飞行高度达1,000英尺(约300米),由人类飞行员自主或远程操作,使用充气载体飞机和无人驾驶飞机系统分发产品。
沃尔玛的空中仓库

多层无人机物流中心


亚马逊的设想通过中心垂直设计建造、无人机转子上增加叶片、在无人机上增加冗余动力的方式,来解决解决人口密集区设立配送中心、噪音及安全的问题。


三段式空运网络

顺丰的规划:大型有人运输机+支线大型无人机+末端小型无人机”三段式空运网实现36小时通达全国。
为实现这一规划,顺丰低调、务实地进行了一系列产业链布局:
无人机硬件:共同投资成立朗星无人机系统的公司(大载重)、投资深圳智航(多旋翼、用于短途运输)
中转枢纽:湖北鄂州
无人机指挥调度中心:成都市双流区
此外,顺丰是目前国内唯一严格按照军民航要求申报物流无人机飞行的企业。

末端补充

补充偏远地区末端配送的运力,提升快递到村的覆盖和时效。
6月17日,苏宁与迅蚁合作研发的无人机成功完成首次实景派送,并创造15.06公里的国内无人机物流飞行新纪录。此后进行智能升级,顺利实现农村末端的toC无人机自动投货并返航。
作为无人机物流快递领域的合作伙伴,青岛云世纪通过U-Care无人机综合监管云系统为迅蚁提供平台支持。

短途物流

短途航空物流网络,包含干线、支线、末端配送的无人机三级物流网络。

云系统+无人机直送

无人机技术公司Flytrex和冰岛最大的电商AHA最近宣称正式推出世界最早的实用性城市无人机配送服务。该服务获得了冰岛运输管理局的管制批准和运营许可。Flytrex运营的无人机可以配送3公斤包裹,时间从原来的25分钟减少到现在的4分钟。
正运营的业务模型
规划的业务模型
下一步,Flytrex将递送到客户的后院。客户可以通过智能手机,看到无人机预计达到时间和位置。当无人机抵达目的地,客户将被通知到,直到准备好接受快递。当客户按下“接受快递”的按键,货物会降落到地面。
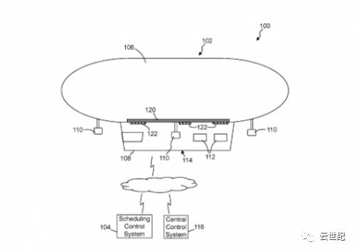
云系统+无人机物流模型
值得注意的是Flytrex不是一个无人机制造商。他们的服务是基于云的无人机管理系统。
综上述,除了解决无人机技术方面的问题,从社会和空中交通管理角度进行模式创新设计显得尤为必要,在这个过程中,云平台可以实现多方互通互联。