
据外媒报道称,GoPro有打造一架消费级无人机的想法,近日又有关于这款无人机的最新消息爆出,上周最新公开的一份专利申请显示,GoPro准备为自家的无人家选用方盒造型。
GoPro要打造一家消费级无人机已经不是什么秘密了,该公司也确定了他们推出无人机的计划,但是他们一直没有正式公布这款无人机的真实面貌和发布日期。
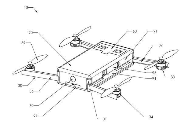
PatentYogi近期发布的消息显示,GoPro最新曝光的无人机专利或许已经泄漏出一些端倪。GoPro无人机项目组的员工之前提交的一份无人机专利申请文件上周正式公开,从文件中可以看出一些关于这款无人机的最新信息。从文件中的图片可以看出,这款无人机竟然拥有一个方盒形状的主机身,这与当前市面上追求圆润的竞品截然不同,市场上也暂时没有这样的无人机产品。
该专利详细介绍了这个盒子的名字“QuadBox”,它是一个带可折叠支柱和螺旋桨的方形盒子。不出意料的是,它的顶端有一个GoPro专用的挂载口。该专利的示意图中使用的是一个矩形机身,但它也可以选择使用球形或是圆柱形的机身。
从设计规划的角度来讲,这一机身的设计有利于保护无人机的内部,加上GoPro,实际上它格外有意义,可以拍摄到很多意想不到的内容。GoPro想将它打造成一个以无人机的方式可以随时随地进行拍摄的摄像头。
大疆精灵(DJI Phantom)等无人机的体积大,较为笨重,想要携带它们进入深山不是个轻松的选择。但如果是一个可折叠成盒子形状、并且坚固牢靠的无人机,户外党自然可以更加轻松地带着它跑到更远的地方,这也就是GoPro主打的内容。

