近年无人机产业蓬勃发展,吸引了不少公司纷纷跨界涌入。据悉继小米发布无人机确认入局之后,相机生产厂商GoPro也已经确认会在年内发布一款无人机,但一直都是只闻其声,好在近日一项有关GoPro无人机的专利终于被曝光,也让我们有机会一睹其尊容了。

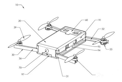
专利显示,GoPro无人机采用的仍是流行的四旋翼设计,机身形状分为三种,分别是矩形、圆柱形和球形,造型和目前所有见过的无人机都不太一样,不过所有的旋翼都可以在不用的时候被折叠收进机体里面,似乎显示便携也许将会成为GoPro无人机的卖点之一。另外矩形和圆柱形的Gopro无人机机身上都可以看到明显的摄像孔,显示这款无人机至少会携带一只摄像头。而之前GoPro公司公布的一些视频片段应该也是用这些无人机拍摄的。

GoPro做为一家专业的相机生产厂商,对专业摄像十分擅长,因此使得人们对其GoPro无人机的摄像能力充满了期待。不过就像小米一样,GoPro从相机转入无人机也相当于玩了一次跨界,之前小米的无人机虽然价格很低,做工同样不错但是却也难逃人们挑剔的目光,招致了行业内外不少人的质疑,不知道Gopro的无人机将来能否避免争议顺利的为人们所接受呢?结果我们拭目以待。

2025-08-29 10:19
2025-08-29 10:18
2025-08-29 10:16
2025-08-29 10:12
2025-08-28 11:18
2025-08-28 11:17
2025-08-28 11:10
2025-08-28 11:09
2025-08-27 14:15
2025-08-27 14:13
